БЛОК АВТОМАТИЧЕСКОГО УПРАВЛЕНИЯ С ЭЛЕКТРОННЫМ ТЕРМОСТАТОМ
РУКОВОДСТВО ПО ЭКСПЛУАТАЦИИ
Используя самые современные методы проектирования, мы создали легко программируемый и высокочувствительный автоматический электронный блок управления для вентиляторного конвектора (фанкойла) SABIANA FUTURA.
Этот блок управления, работающий на микропроцессорах, имеет множество функций и операций для управления фанкойлом, он позволяет отображать выбранный режим работы, который обозначается с помощью различных символов, выводимых на жидкокристаллический дисплей.
Указатель
Основные функции
Основные функции блока управления:
- Включение и отключения фанкойла.
- Отображение температуры в помещении.
- Установка и отображение заданной температуры (SET).
- Можно задать летний или зимний режим работы непосредственно кнопками на блоке управления или с помощью электрического сигнала, идущего от котельной или, а в двухтрубной системе можно задать автоматическое переключение.
- Можно вручную выбирать одну из трех скоростей вентилятора.
- Автоматический выбор одной из трех скоростей вентилятора, в зависимости от отклонения реальной температуры в помещении от заданного значения.
- В зависимости от температуры, прибор управляет открыванием или закрыванием (ON-OFF) как в летнем, так и в зимнем режиме работы, одного клапана воды (двухтрубная система) или двух клапанов воды (четырехтрубная система).
- В четырехтрубных системах, в которых на фанкойлах стоят клапаны воды типа ВКЛ-ВЫКЛ и в которых постоянно циркулируют две жидкости (горячая вода и холодная вода), можно запрограммировать автоматическое переключение между режимом нагревания и режимом охлаждения, в зависимости от смещения реальной температуры по отношению к заданной, мертвый диапазон составляет примерно 3°С.
- Послав на блок управления электрический централизованный сигнал, через таймер или через обычный выключатель, можно изменить заданную температуру (уменьшение заданной температуры на 3°С для зимнего режима, и увеличение на 3° для летнего режима), что особенно полезно при ночной работе, либо можно отключать фанкойл в те периоды, когда он не нужен.
- Подключив датчик минимальной температуры (аксессуар ТМЕ, ставится между ребер теплообменной батареи), при работе в зимнем режиме, вентилятор включится только тогда, когда температура воды превышает 42°С и остановится если она опустится ниже 38°С.
- Управление ТЭНом (дополнительный аксессуар), если он установлен, в зависимости от температуры, который выполняет функцию дополнительного нагрева.
- Управление специальным электростатическим фильтром, который ставится на фанкойл SABIANA-FUTURA для версии Crysrall (дополнительный аксессуар).
Схема соединения
А : Фанкойл (единственный или первый в последовательности из нескольких фанкойлов), соединен с настенным блоком управления ТМО-DI через СИЛОВОЙ БЛОК ДЛЯ ТМО-DI код 3021118.

В : ФАНКОЙЛы подключены к тому же блоку управления, что и первый конвектор (фанкойл) через последовательное соединение между ПОВТОРИТЕЛЯМИ ДЛЯ ТМО-DI код. 9060138.
ВНИМАНИЕ: если вы хотите присоединить к одному блоку управления несколько фанкойлов, имейте ввиду, что на первом всегда устанавливается только СИЛОВОЙ БЛОК ДЛЯ ТМО-DI, а на последующих всегда устанавливается только ПОВТОРИТЕЛЬ ДЛЯ ТМО-DI.
Для выполнения электрических соединений смотри страницу 9 для одного фанкойла или страницы 10/11 для нескольких фанкойлов с одним блоком управления.
Технические характеристики силового блока
- Элекропитание : 12 Вольт переменный ток
- Контейнер из пластика ABS
- Защита IP 40
- Отображение температуры и режима работы через жидкокристаллический дисплей с 32 точками.
- Задание параметров и функций посредством кнопочной панели с 7 кнопками с проводящей мембраной.
- Рабочий диапазон от 5 до 30°С с разрешением 0,1°С, точность ±1,5%
- Датчик температуры типа NTC с точностью ±1%
- Соединения через клеммную колодку, расположенную на печатной плате
- Выбор режима работы с помощью 8 микропереключателей на печатной плате и одного мостика
- Рабочая температура 0 / 40°С
- Температура хранения -20 / +70°С
Установка
Настенный цифровой блок управления комплектуется всеми аксессуарами, необходимыми для правильной его установки, как для крепления его на один уровень со стеной, так и для крепления его в коробку, утопленную в стену. Этот аксессуар состоит из двух основных частей: блока управления, который ставится на стену того помещения, в котором необходимо регулировать температуру и электронного силового устройства, устанавливаемого на фанкойл. Эти две части соединяются между собой двужильным проводом, полярность соединения не имеет значения, длина провода не должна превышать 30 метров. Внутри настенного блока управления стоит датчик, измеряющий температуру в помещении. Для того чтобы термостат работал наилучшим образом, установите его на высоте 1,5 метра от уровня пола, вдали от источников тепла и потоков воздуха, не ставьте его на стены, выходящие на улицу, температура которых может повлиять на показания блока управления.
Подготовка электропроводки
- для подключения настенного блока управления необходимо проложить двужильный провод с сечением проводов 0,5 мм2. Для того чтобы было проще подключать провод к клеммной колодке блока управления, провод должен торчать из стены не менее чем на 100 мм.
Крепление к стене
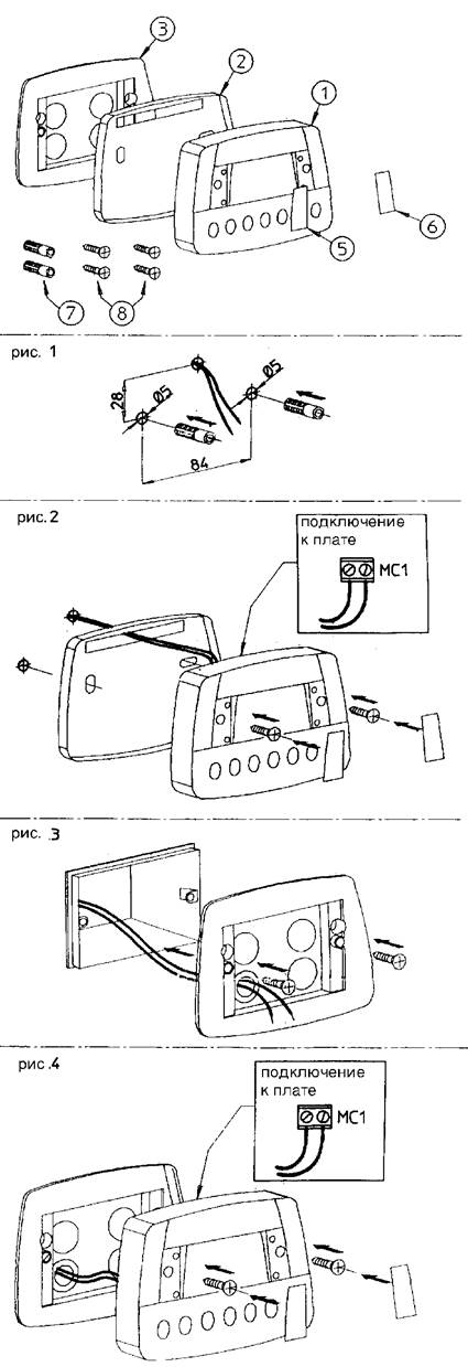
Для установки накладного настенного блока управления, действуйте следующим образом:
- Откройте панель управления, отсоединив лицевую часть 1 от основания 2
- Забейте в стену 2 дюбеля таким образом, чтобы соединительный провод проходил в щель, находящуюся выше (рисунок 1)
- Пропустите соединительный провод через щель и присоедините его к контактам на клеммной колодке МС1, которая находится на электронной плате (рисунок 2)
- Приложите лицевую часть к основанию и закрепите блок управления двумя винтами, входящими в комплект поставки
- Установите две декоративные вставки 5 и 6, слегка надавив на них пальцем.
Крепление на стену в утапливаемую коробку
Для установки утапливаемого блока управления, действуйте следующим образом:
- Замуруйте в стену установочную коробку
- Пропустите соединительный провод

